Защитное заземление – преднамеренное электрическое соединение с землей или ее эквивалентом металлических нетоковедущих частей, которые могут оказаться под напряжением вследствие замыкания на корпус и по другим причинам (индуктивное влияние соседних токоведущих частей, вынос потенциала, разряд молнии и т. п.).
Эквивалентом земли может быть вода реки или моря, каменный уголь в карьерном залегании и т. п.
Назначение защитного заземления — устранение опасности поражения током в случае прикосновения к корпусу электроустановки и другим нетоковедущим металлическим частям, оказавшимся под напряжением вследствие замыкания на корпус и по другим причинам.
Защитное заземление следует отличать от других видов заземления, например, рабочего заземления и заземления молниезащиты.
Рабочее заземление — преднамеренное соединение с землей отдельных точек электрической цепи, например нейтральных точек обмоток генераторов, силовых и измерительных трансформаторов, дугогасящих аппаратов, реакторов поперечной компенсации в дальних линиях электропередачи, а также фазы при использовании земли в качестве фазного или обратного провода. Рабочее заземление предназначено для обеспечения надлежащей работы электроустановки в нормальных или аварийных условиях и осуществляется непосредственно (т. е. путем соединения проводником заземляемых частей с заземлителем) или через специальные аппараты — пробивные предохранители, разрядники, резисторы и т. п.
Заземление молниезащиты — преднамеренное соединение с землей молниеприемников и разрядников в целях отвода от них токов молнии в землю.
Принцип действия защитного заземления — снижение до безопасных значений напряжений прикосновения и шага, обусловленных замыканием на корпус и другими причинами. Это достигается путем уменьшения потенциала заземленного оборудования (уменьшением сопротивления заземлителя), а также путем выравнивания потенциалов основания, на котором стоит человек, и заземленного оборудования (подъемом потенциала основания, на котором стоит человек, до значения, близкого к значению потенциала заземленного оборудования).
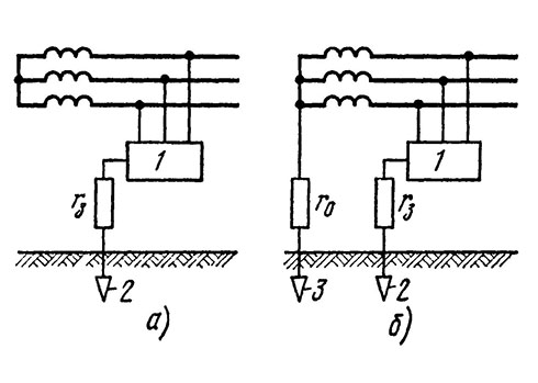
Принципиальная схема защитного заземления

а - в сети с изолированной нейтралью;
б - в сети с заземленной нейтралью;
1 - заземляемое оборудование;
2 - заземлитель защитного заземления;
3 - заземлитель рабочего заземления;
R3 - сопротивление защитного заземления;
RO - сопротивление рабочего заземления
