Сверление – это обработка отверстия, как правило,
в сплошном материале с замкнутым кругообразным
движением резания при движении подачи инструмента
в направлении оси вращения.


Задние углы спирального сверла:
а) – угол в плане главной режущей кромки, задний угол
(в цилиндрическом сечении)
и передний угол в плоскости
стружкообразования
(в главной секущей плоскости);
б) – задний угол в торцовом сечении;
в) - статический и действительный
задние углы в рабочей плоскости
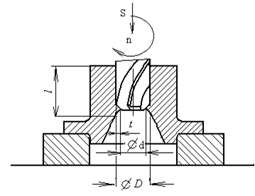
Зенкерование – обработка отверстия меньшего диаметра , предварительно изготовленного материале, до размера большего диаметра с замкнутым кругообразным движением резания при движении подачи инструмента в направлении оси вращения.

